405元买小天鹅洗衣机收到小天鸥鹅告急声明:恶
“花405元买小天鹅洗衣机,收到的倒是‘小天鸥’?”近日长沙消费者黄密斯的激发热议。据领会,黄密斯正在电商采办“小天鹅”洗衣机,收货后却发觉机械品相粗拙,机筒摇摇晃晃,里面还有水,品牌标识也并非小天鹅。联系商家、厂家无果,她向平台赞扬,涉事商品链接已被下架。
针对该事务,11月24日,小天鹅发布,明白“小天鸥”取本身无任何干联,曲指商家“恶意仿冒”“混合品牌名称”,已结合市场监管部分和电商平台展开查询拜访,并启动法令法式。
虽然黄密斯赞扬后涉事商品下架,多款产物标价388元起,标注“10万+人加购”“已售2000+”。别的,记者查询拜访发觉,“小天鸥”曲播间名称含“小天鹅”环节词,均采用蓝白配色,通俗消费者难以分辨。从播曲播时辰意恍惚品牌名称,只强调“大品牌同款工艺”“福利价”,进一步消费者。
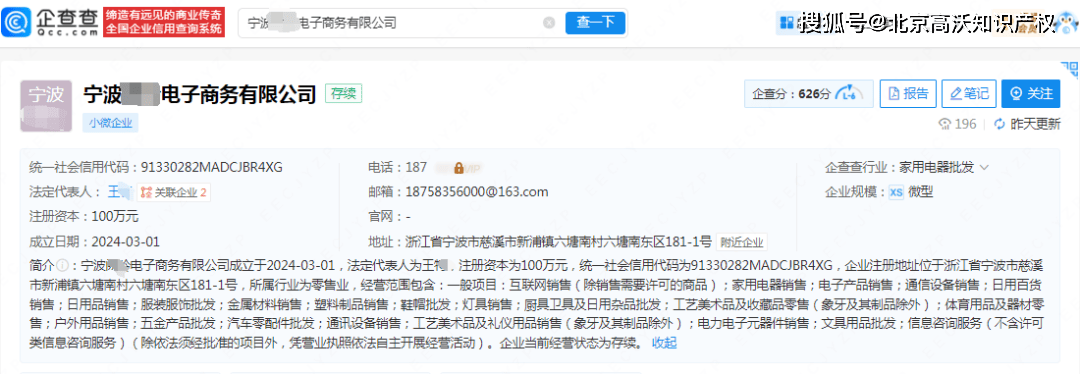
从企查查查询,“小天鸥”所属宁波某电子商务公司成立于2024年3月1日,让获得第36106599号“小天鸥”商标公用权。该商标申请日期为2019年1月23日,商标类别属“07机械设备”,商品及办事项为扭转式脱水机(非加热)、切面包机、洗碗机、食物加工机(电动)。目前商标形态为“已注册|撤三法式中”。
2025年7月8日,此举或为规避商标被撤销的风险而采纳的告急应对办法,不外,2025年9月18日,该公司即撤回了该商标申请。
据企查查平台查询,小天鹅已两次将“小天鸥”所属的宁波某电子商务公司诉至法院,案由均为“侵害商标权胶葛”。
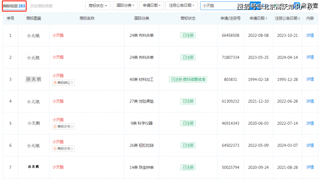
查询可见,“小天鹅”商标完美全面,无锡小天鹅电器无限公司具有“小天鹅”相关商标达283个,涉及类别也浩繁,虽然如斯,仍是难以避免商标被傍名牌、搭便车行为。
雷同的商标胶葛案例还有良多,诸如“胖都来”仿冒“胖东来”、“粤利粤”仿冒“奥利奥”等,商标傍名牌、搭便车行为看似是低成本的“捷径”,实则是摧毁品牌信赖的毒药,不只损害了人的权益,也了一般的市场所作次序,损害了消费者好处。对企业而言,取其仿照他人,不如深耕本身立异。跟着学问产权认识的加强和执度的加大,此类行为必将遭到愈加峻厉的法令制裁。




